ZEST AND BOLT - page 488

DRIVETRAIN C549
13
B. CONSTRUCTION AND SYSTEM
DESCRIPTION
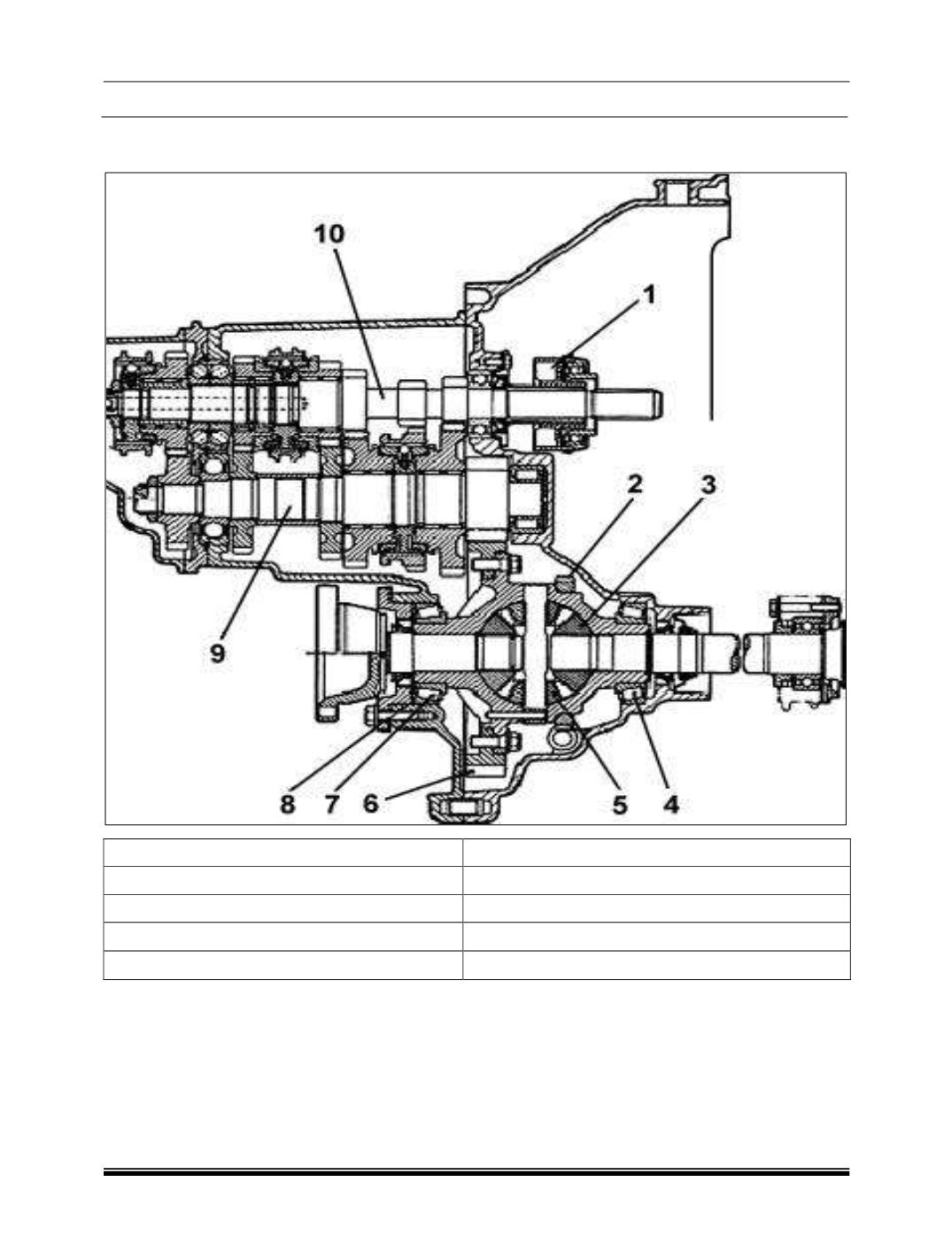
1.
Thrust bearing
6. Ring gear
2. Speedometer gear
7. Conical roller bearing
3. Planet gears
8. Differential casing bearings adjustment shim
4. Conical roller bearing
9. Lay shaft
5. Satellite gears
10. Main shaft
1...,478,479,480,481,482,483,484,485,486,487 489,490,491,492,493,494,495,496,497,498,...
Powered by FlippingBook