ZEST AND BOLT - page 678

BRAKES
18
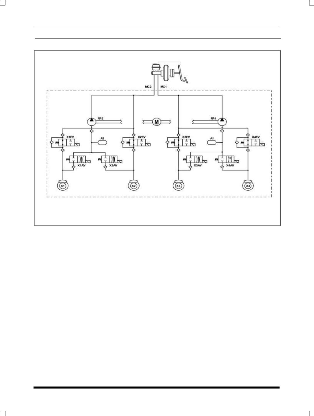
Hydraulic Control Unit
1...,668,669,670,671,672,673,674,675,676,677 679,680,681,682,683,684,685,686,687,688,...
Powered by FlippingBook