1.2L REVOTRON ENGINE
103
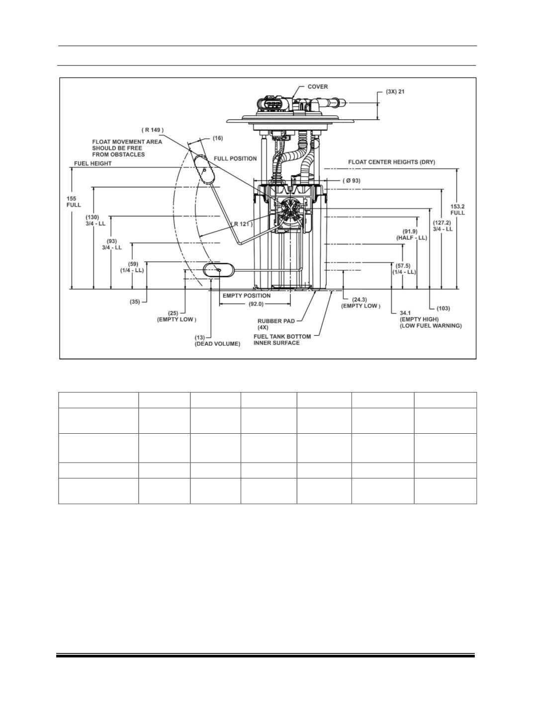
The specified resistance values and calibration:
Float Position
Full
3/4
Half
1/4
Empty High
Empty Low
Resistance value
in Ohms
8
34
58
89
100
120
Tolerance in
Ohms
± 2
± 2
± 2
± 2
± 2
± 2
Height in mm
153.2
127.2
91.9
57.5
34.1
24.3
Volume (Liters)
(Usable)
34
28
19
11
5.5
3




