Background Image
Table of Contents Table of Contents
Previous Page  421 / 1002 Next Page
Information
Show Menu
Previous Page 421 / 1002 Next Page
Page Background

DRIVETRAIN-TA65 Star

39

4.7. H.

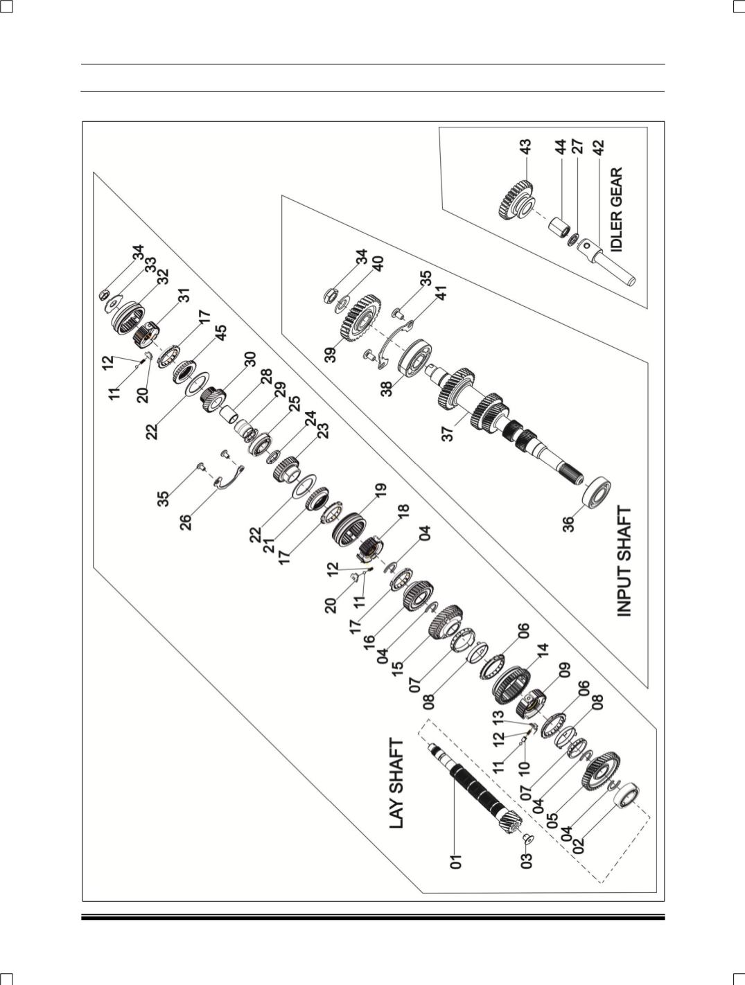
EXPLODED VIEW OF LAY SHAFT AND INPUT SHAFT: