Background Image
Table of Contents Table of Contents
Previous Page  537 / 1002 Next Page
Information
Show Menu
Previous Page 537 / 1002 Next Page
Page Background

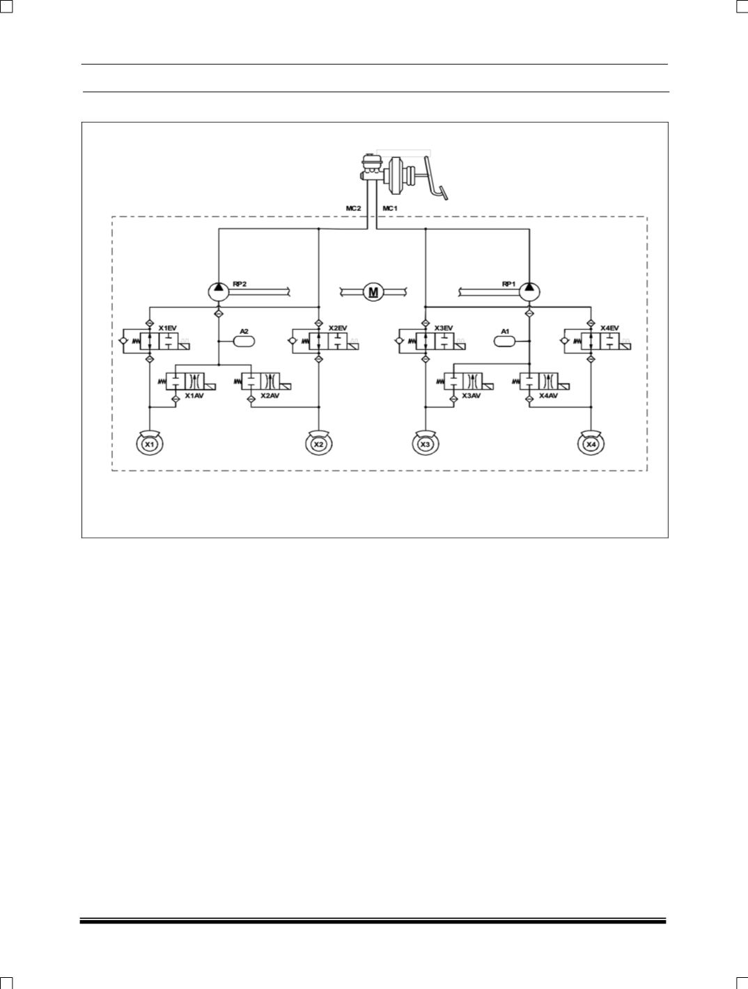
BRAKES

18

6.9.2 HYDRAULIC CONTROL UNIT